
倘若您有什么疑問或是對我公司有任何
的意見和建議都可通過:
的意見和建議都可通過:
公司名稱: 鞏義市西村鎮華豐給排水材料廠
公司地址: 河南省鞏義市西村開發區
電話: 0371-64033589
手機: 18638168566,13683712868
13783416000(技術)
聯系人: 王先生,位女士
郵政編碼: 451200
E-MAIL: 1696257948@qq.com
網址:http://m.sd31zb.com/
網址:http://m.sd31zb.com/
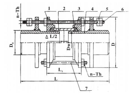
SSJB-3(BY)型壓蓋松套限位伸縮接頭
標簽:我公司專業生產伸縮接頭廠家。壓蓋限位伸縮接頭上市以來深受客戶的歡迎,產品暢銷全國各地。壓蓋限位伸縮接頭生產技術。
壓蓋限位伸縮接頭型號SSJB-3(GB/T12465-2007)型,壓蓋限位伸縮接頭是由松套伸縮接頭和兩個限位短管組合而成。壓蓋限位伸縮接頭能防止管道因超量位移導致補償接頭的泄漏和損壞,壓蓋限位伸縮接頭主要用于在允許位移范圍內吸收軸向位移和承受軸向壓力推力的管道松套連接。
SSJB-3型壓蓋限位伸縮接頭的優點:壓蓋限位伸縮接頭伸縮量大,安裝簡單方便,使用壽命長(使用壽命長達10-30年)維修方便。
壓蓋限位伸縮接頭的特點:壓蓋限位伸縮接頭管道兩邊以焊接的方式連接。
SSJB-3型壓蓋限位伸縮接頭的安裝方法:壓蓋限位伸縮接頭兩邊均與管道焊接,壓蓋限位伸縮接頭在安裝時松開壓蓋螺母,調整至安裝長度后把兩端的短管與管道焊接,*后用對角法均勻擰緊螺母,調整好防脫螺母即可。
更多產品詳情可來電咨詢
聯系人:王先生 13783416000 魏女士 13683712868
版權所有:華豐管道 地址:河南省鞏義市西村開發區 服務熱線:0371-64033589 管理入口E-MAIL: 1696257948@qq.com 手機: 18638168566,13783416000
網站備案/許可證號: 豫ICP備11026537號-5
豫公網安備 41910102000259號 技術支持:鞏義開啟網絡
本網站支持新廣告法,為不影響客戶瀏覽,頁面區域用詞正在排查修改,本店所有頁面絕對化用詞和功能性用詞在此聲明前全部失效,不接受不妥協任何形式的絕對化用詞和功能性用詞賠付,希望各位消費者理解,職業打假人高抬貴手。 網站備案/許可證號: 豫ICP備11026537號-5
豫公網安備 41910102000259號 技術支持:鞏義開啟網絡


